
-
2021-12-17自動化技術中線性執行器與旋轉執行器的區別
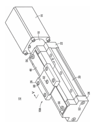
線性致動器是轉動裝置的直流低電壓電動機的旋轉運動轉換成線性運動。其輸出運動與輸出軸本身一致。這使得只需按一下按鈕就可以提升、調整、傾斜、推動或拉動重物或難以夠到的物品。

-
2021-12-17完美的自動門電機減速機,用于運動控制和精度的減速器
自動門的使用和應用越來越普遍,超出了商場、醫院和大型辦公場所。門自動化的復雜系統需要很好的控制和精度,這就是為什么減速器的選擇應該涉及非常精確的研究。

-
2021-12-16耐壓傳感器壓力有哪些類型,什么是耐壓傳感器?
耐壓傳感器和壓力。壓力是施加在表面、物體或人上的力。壓力可以由液體、氣體和固體以及人施加。在這種情況下,傳感器可能位于具有壓力環境的工業場所。

-
2021-12-16如何使用光澤度傳感器進行光澤度檢查與測量?
光澤度傳感器在特定表面上執行光澤度測量。如何表達測得的光澤度?與光澤系數。在光澤系數的幫助下,可以監控產品的質量。

-
2021-12-16分辨率、準確度和精密度對傳感器的功能起著決定性的作用
準確度的重復性是兩次測量的差異。當第一次測量顯示距離為101 mm,第二次測量(相同條件下)顯示距離為102 mm時,我們可以說傳感器的重復性為1 mm,在很多(但絕對不是全部)應用中,重復性比絕對精度更重要。

-
2021-12-15四種不推薦用于工業使用的傳感器過濾器
每個應用都需要一個定制的傳感器,在某些情況下,傳感器需要一個過濾器才能發揮最佳性能。當應用無過濾器設置時,每一次距離測量都是未經過濾的。

-
2021-12-13如何實施交流變頻器維護?交流變頻器維護要求可以這樣做!
交流變頻器的日常維護帶來了重要的好處。然而,如今許多站點的維護資源和預算面臨著巨大的壓力,那么如何規劃和實施一個有效且經濟的交流變頻器維護計劃呢?

-
2021-12-13沒有維護的交流變頻器會出現什么問題,變頻器不維護會怎么樣?
現代交流變頻器幾乎不需要日常關注,但它們并不是完全安裝和遺忘的設備。然而,精心策劃的預防性維護計劃可以幫助用戶始終發揮驅動器的最佳性能。


